Plugg Jic 9/16 Utv
49 kr
Inkl. moms

- Info
-
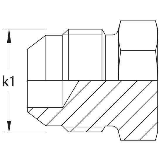
LagerstatusArtikelnummerJIC501006TillverkareEgenskaper- UNF utvändig gänga JIC 37°
- gänga (k1) UNF 9/16" -18 - I produktgrupper
-
Hydraulnipplar & rörkopplingar
- Omdömen
-