Plugg Jic 7/16 Utv
38 kr
Inkl. moms

- Info
-
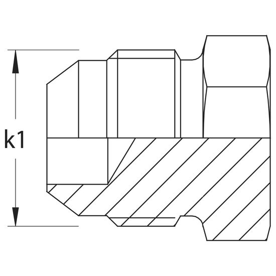
LagerstatusArtikelnummerJIC501004TillverkareEgenskaper- UNF utvändig gänga JIC 37°
- gänga (k1) UNF 7/16" -20 - I produktgrupper
-
Hydraulnipplar & rörkopplingar
- Omdömen
-